出国留学网专题频道高考报名现场确认流程栏目,提供与高考报名现场确认流程相关的所有资讯,希望我们所做的能让您感到满意!
11-16
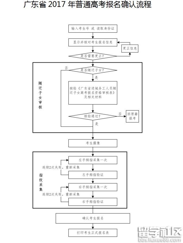
出国留学网高考网为大家提供广东省2017年普通高考报名现场确认流程,更多高考报名信息请关注我们网站的更新!
广东省2017年普通高考报名现场确认流程
点击下面图片即可下载:
小编精心为您推荐:
广东2017普通高校招生统一考试报名和建档工作的通知 ...11-23
出国留学网高考网为大家提供广东省2016高考报名确认流程,更多广东高考报名资讯请关注我们网站的更新!
广东省2016高考报名确认流程

小编精心为您推荐:
| 2016广东高考报名信息汇总 | |
| 1 | 广东省普通高考报名流程(图) |
| 2 | 2016广东高考报名时间:12月1日~10日 |
高考报名现场确认流程推荐访问