出国留学网专题频道工作流程栏目,提供与工作流程相关的所有资讯,希望我们所做的能让您感到满意! 工作流程(flow of work)是指工作事项的活动流向顺序,包括实际工作过程中的工作环节、步骤和程序。工作流程的组织系统中各项工作之间的逻辑关系是一种动态关系,在一个建设工程项目实施过程中,其管理工作、信息处理,以及设计工作、物资采购和施工都属于工作流程的一部分。全面了解工作流程,要用工作流程图;而管理和规划工作流程,则需要工作流程组织来完成。工作流程要注意任务流向、任务交接、推动力量三要素。
想做工程质检员的你们,知道这个岗位的职责和工作流程吗?下面是由出国留学网小编为大家整理的“工程质检员岗位职责和工作流程”,仅供参考,欢迎大家阅读。
工程质检员岗位职责和工作流程(一)
1、质检人员应服从分配,听从指挥,并严格遵守公司的各项规章制度和有关规定;
2、负责对公司各班组产品重量、质量、废料、合格率及产品相关问题的统计工作;负责对进公司所有原材料、辅助材料的质量检查。
3、质检人员应在适当、工作所需的情况下,主持召开班前会议,总结昨日工作上的疏忽及纰漏,并认真落实当日工作。
4、对下属人员进行考核、评价以及激励;有对下属人员推荐权和评价权。
5、定期或不定期组织人员对工作进行分析讨论。增强自身及下属人员的产品质量意识,提高工作热情及技术水平。
6、每日做好检查笔录及各项工作记录,每月质检人员都要认真总结工作并做出工作分析,递交上级领导审批,征求领导意见,及进改进工作。
7、质检人员每月应联合厂长、主任及相关人员组成监督检查小组对各班组进行联合大检查,及时查检各班在产品质量、产品卫生状况上出现的问题及不足之处,并做出分析,指出应如何改进。
8、凡是质检工作中,有关重大决策必先请示上级领导,经领导批准后方可执行。
9、质检人员在各项工作当中必须秉公执法、一视同仁严以律已、以身作则。
工程质检员岗位职责和工作流程(二)
岗位职责:
1、负责本车间的技术管理,质量检验及计量管理工作。
2、负责本车间各工种在施工过程中质量检验,审查各车间提出的基础零件和主要部件是否必要更换,在保证质量的前提下减少材料损耗,降低成本。
3、经常巡回到各车间,及时了解生产过程中所出现的技术问题和计量问题,与车间员工共同研究解决,要掌握每樘门各个部件的技术要求,及时纠正在生产中的差错,保证生产质量,减少返工浪费。
4、负责每樘门的检验工作,经过检验和调试,全面了解每樘门的质量技术状况,发现不符合出厂要求的应通知车间主管,切实做好每樘门的各级检验制度。
机械加工的质检员职责
1、协助部门主任检查集团下属各单位的规章制度执行情况以及产品及工程质量,花色品种、物资价格、安全卫生、服务态度、内部管理劳动纪律等,对违规或不合格项目进行处理。
2、检查有关人员健康证,卫生许可证,计生证的办理情况和流动人口的管理及日常卫生检查等工作。
3、负责集团投诉处理工作,做好对投诉者的接待和解释工作,并对投诉内容及相关部门需查处办理的问题,及时查处。
4、经常深入各部门,掌握其部门工作情况,了解执法(规)情况和查阅必须的资料。
5、按要求做好监察记录,并对发现的问题,提出处理意见和改进建议。
6、坚守岗位,以身作则接受集团职工的监督。
7、检查和督促食堂防止食源性疾病,食物中毒等事件的发生工作。
8、协助主任处理其他工作。
9、完成领导交办的其他工作。
工程质检员岗位职责和工作流程(三)
1、对项目的质量管理工作负责。
2、参与...
身为一个质检员,我们要牢记岗位和职责,也得非常熟悉工作的流程,下面是由出国留学网小编为大家整理的“质检员岗位职责和工作流程”,仅供参考,欢迎大家阅读。
质检员岗位职责和工作流程(一)
1、负责原辅料、工序、成品、出货产品及GP12产品的检验,并做好各项质量检验记录
2、熟悉各种检验工具,并能独立使用与操作
3、通过各《检验规范》熟悉掌握产品质量特性及接收标准
4、对关键、特殊工序品质进行控制、检验与监督,并处理工序产品的不良品
5、做好检验产品的状态标识,合格品、待确认品、不良品的归纳并粘贴相对应标签,并记录检验情况,记录表单中做好记录
6、完成直接上级交办的其他任务
质检员岗位职责和工作流程(二)
1、负责车辆维修自检、互检工作的监督
2、负责按吉利汽车总检要求,对车辆维修质量进行总检工作
3、负责对车辆维修质量进行,统计记录、分析、提出改善建议
4、协助做好质量档案管理工作(总检记录表、内返、外返单等)
5、协助做好4S店有关质量的改进工作计划;
6、负责协助技术总监完成月度维修质量分析报告和维修案例的编制与上报;
7、负责参加行业的业务培训和年审工作等;
8、完成上级领导安排的其他工作。
质检员岗位职责和工作流程(三)
1、检验外购物料及自产物料,据实填写《来料检验表》,并做好品质检测状况标识,确保准确无误。
2、负责检查仓库存有物料的品质状况,并协助相关技术人员追踪进料品质改善效果。
3、做好来料检验标准、部件参数测试记录、来料检验报告等本岗位相关的文件及表单的整理、分类、归档及保管工作,确保规范有序。
4、负责部分成品的外观、功能出货检验工作
5、完成领导安排的其他工作。
推荐阅读:
...04-13
如果你想应聘酒店前台这个岗位,那首先就需要了解这个岗位的职责和工作流程。下面是由出国留学网小编为大家整理的“酒店前台接待岗位职责及工作流程介绍”,仅供参考,欢迎大家阅读。
酒店前台接待岗位职责及工作流程介绍(一)
1、正确掌握当日酒店客房的需求及供应状况,了解当日客人抵、离 情况,核对房态,做好分房工作。
2、热情接待客人,办理各种手续,提前安排VIP客人、白金卡客人 和会议客人的入住登记。
3、接受和处理预定信息。
4、负责为客人结账,收取以现金或转账、信用卡等支付方式的住宿 费用。
5、将客人住宿账单分类并及时输入电脑,妥善保管。
6、了解并熟悉酒店各类促销活动,对客做好促销工作。
酒店前台接待岗位职责及工作流程介绍(二)
1. 负责客人接待、入住手续办理、散客及团体预订;
2. 负责前台房间登记、结账、电话接听、房间预订、客人问询等相关服务工作;
3. 确保按照公司服务标准,提供高质量前台服务;
4. 掌握酒店各项优惠政策和房价政策,了解客房状况和出租率,有销售意识;
5. 检查预订资料及VIP通知单,合理安排宾客的入住;
6. 确保入住登记单详细、准确、清晰,符合有关部门的规定;
7. 完成上级主管交办的其它工作;
酒店前台接待岗位职责及工作流程介绍(三)
1、及时、准确接听/转接电话,如需要,记录留言并及时转达;
2、接待来访客人并及时准确通知被访人员;
3、收发公司邮件、报刊、传真和物品,并做好登记管理以及转递工作;
4、负责快件收发、机票及火车票的准确预定;
5、负责前台区域的环境维护,保证设备安全及正常运转(包括复印机、空调及打卡机等);
6、协助公司员工的复印、传真等工作;
7、完成上级主管交办的其它工作。
酒店前台接待岗位职责及工作流程介绍(四)
1.服从店长工作安排,按规定的程序与标准向宾客提供一流的接待服务。
2.认真地进行交接班工作,不清楚的地方要及时提出,备用金班班交接,前帐不清后账不接。
3.作好班前准备,认真检查电脑、打印机、信用卡POS机、制卡机、扫描仪等设备工作是否正常。
4.掌握房态和客房情况,积极热情地服务客户,了解当天预定预离客人,确认其付款方式,以保证入住和结帐准确无误。
5.快速准确地为客人办理入住、延房、换房及退房等手续,开房时主动向客人讲清房价,避免客人误解,并需做好客人验证手续和开房登记。
6.准确熟练地收点客人现金、扫码付款等,打印客人各项收费帐单,及时,准确地为客人结帐并根据客人的合理要求开具发票。
7.为宾客提供所需要的信息,热情、周到、细致地帮助客人解决各种需求。
8.妥善处理客人的投诉,当不能解决,及时请示上级主管。
酒店前台接待岗位职责及工作流程介绍(五)
1、为顾客办理入...
09-23
为了在考试的时候考到一个好的成绩,下面由出国留学网小编为你精心准备了“2020二级建造师建设工程施工管理考点:工作流程组织",持续关注本站将可以持续获取更多的考试资讯!
2020二级建造师建设工程施工管理考点:工作流程组织
1.工作流程组织
(1)管理工作流程组织:如投资控制等流程。
(2)信息处理工作流程组织:如与生成月度进度报告有关的数据处理流程。
(3)物质流程组织:如钢结构深化设计工作流程等。
2.项目各参与方都有各自的工作流程组织的任务。
推荐阅读:
...05-25
出国留学网小编为你精心准备了2019年初级银行从业资格考试个人理财易错考点题:理财师的工作流程和方法,来试试自己的水平吧,想知道更多相关资讯,请关注网站更新。
2019年初级银行从业资格考试个人理财易错考点题:理财师的工作流程和方法
单选题:
1、财务规划包括对客户的( )进行合理合规的税务规划。
A.资产
B.负债
C.收入
D.支出
参考答案:C
试题难度:本题共被作答887次 ,正确率46% ,易错项为C,A 。
2、在专业理财服务中,理财师在投资规划中最重要的工作是( )。
A.保证收益
B.资产配置
C.投资建议
D.理财规划
参考答案:B
试题难度:本题共被作答926次 ,正确率30% ,易错项为D,B 。
参考解析: 在专业理财服务中,理财师在投资规划中最重要的工作是根据客户的需求、风险属性,以及相关投资方法,按不同的比例把客户的资产科学地配置在不同的资产类别中,其中包括股票、债券、不动产、现金等,即资产配置;然后再根据每一类资产所配置的比例,为客户提供不同投资方式和产品的建议。
3、资产管理是由专业的投资团队集合社会资金进行专业管理,并形成各种不同的产品,其中( )成为大部分普通投资者非常重要的投资品种。
A.公募证券投资基金
B.私募证券投资基金
C.债券
D.股票
参考答案:A
试题难度:本题共被作答1002次 ,正确率44% ,易错项为C,A 。
4、子女教育规划的内容不包括( )。
A.对教育费用需求的定性分析
B.通过储蓄和投资积累教育专项资金
C.金融产品的选择
D.资产配置
参考答案:A
试题难度:本题共被作答1142次 ,正确率32% ,易错项为C,D 。
参考解析: 子女教育规划的主要内容包括对教育费用需求的定量分析.通过储蓄和投资积累教育专项资金,金融产品的选择和资产配置等内容。
5、( )是家庭消费开支规划的一项核心内容。
A.现金管理
B.债务管理
C.收入规划
D.资产负债表
参考答案:B
试题难度:本题共被作答981次 ,正确率46% ,易错项为D,B 。
参考解析:家庭消费开支规划的一项核心内容是债务管理,涉及举债目的、借贷能力和借贷渠道、方式、条件等选择、规划。
6、客户现在的以及未来的( )是其理财目标得以实现的最重要的基础。
A.理财规划
B.投资收入
C.财务资源
D.工资薪金
参考答案:C
试题难度:本题共被作答1026次 ,正确率40% ,易错项为C,A 。
参考解析:理财目标必须具备合理性和可行性,客户现在的以及未来的财务资...
快要中考了,考生们都准备得怎么样啦?出国留学网小编为你精心准备了2019年郑州中考志愿填报工作流程,希望能够帮助到你,想知道更多相关资讯,请关注网站更新。
2019年郑州中考志愿填报工作流程
在顺利完成2019年普通高中招生信息采集、考生注册和网上完善信息工作的基础上,根据《2019年郑州市市区普通高中招生工作意见》,现就郑州市市区户口、在市区以外就读考生网上志愿填报工作流程明确如下!
报名时间和地点
(一)网上报名时间:5月28日8:00—5月31日23:59。5月31日24:00之后志愿填报系统将自动关闭。
(二)现场报名时间:5月29日—5月30日,上午8:30—11:30,下午14:30—17:30。
报名地点:郑州五中(管城区南关街3号)
报名程序和办法
(一)网上报名的程序和办法
1、系统登录。考生登录“河南省中招考生服务平台”首页,输入登录账号(即报名序号)、登录密码(即考生在注册过程中自己设置的密码)及考生相关信息,点击“登录”按钮即可进入考生“中招报名”界面,选择报考类型,点击保存进入下一步。
2、填报志愿。考生按照系统提示,选择照顾对象,自愿选择志愿,填报完成后点击保存按钮,志愿填报结束。
3、确认志愿。志愿填报结束后,考生可在网上查看并确认自己填报的志愿信息。
4、志愿修改。在志愿填报规定时间内,如果需要修改志愿,必须在5月31日23时59分前进行网上修改并确认,在此之后,所有志愿不可修改。
(二)现场报名的程序和办法
1、郑州市市区常住户口,在郑州市市区以外学校就读的考生,在郑州市中招办统一设置的报名点,报名后通过河南省中招信息管理平台(http://zk.haedu.gov.cn),进行网上填报志愿。
2、郑州市区常住户口,在河南省以外学校就读的考生报名办法:
(1)2019年3月,未在郑州市中招办采集过基本信息的外地就读回郑考生,需持考生身份证、户口簿、二寸蓝底彩色背景照片三张,原就读初中学校及其上级教育行政部门出具的全国中小学学籍管理系统打印的学籍基本信息卡和初中三年综合素质报告手册,以及同意回郑报考的证明(如果已经在省内外地采集过中招信息还需要提供河南省义务教育学生转学证明“考籍异动表”并加盖毕业学校公章),现场进行信息采集和报名。考生报名后通过河南省中招信息管理平台(http://zk.haedu.gov.cn),进行网上填报志愿。
(2)2019年3月,已经在郑州市中招办采集过基本信息的外地就读回郑考生,需持考生身份证或者户口簿现场缴费、确认报名并网上填报志愿。
3、现场报名符合照顾加分政策的考生,还需提供加分照顾的各种证件原件和复印件。
4、现场报名的考生同时进行中招理化生实验操作考试和中招体育考试报名。
5、现场进行中招体育考试报名。
考生准考证、座次表的领取与发放
02-12
还有三个月时间就要高考了,你准备好了吗?小编为你提供了2019年广东省高职院校自主招生工作流程,希望能够帮助到你,想知道更多高考资讯,请关注网站更新。
2019年广东省高职院校自主招生工作流程
为确保我省高职院校自主招生试点工作顺利进行,现制定工作流程如下。
一、制定高职自主招生录取办法及实施方案
参加自主招生改革的试点高职院校应在本校春季分类考试招生章程中制定本校高职自主招生录取办法,在录取办法中明确本校不同招生类型的报考条件,招收普通高中生(含现代学徒制)的“文化素质+职业技能”考核办法,以及招收中职生(含现代学徒制考生及学前教育专业学院试点班考生)的“文化基础+职业技能” 考核办法,免试录取、免考“技能证书”的实施办法、录取规则、收费标准等。招收普通高中考生的试点高职院校要明确对考生学业水平考试成绩等级的要求,且要求不得低于普通高考报考专科层次院校的学业水平考试成绩等级要求;明确拟录取高中考生“文化素质”考核及“职业技能”考核成绩的最低要求;招收中职考生的试点高职院校须明确招生专业对考生中职阶段就读专业及考生必备的职业资格技能等级证书要求(包括证书名称、等级、颁证单位等);明确拟录取中职考生“文化基础”考核及“职业技能”考核成绩的最低要求。开展现代学徒制专业招生的试点高职院校要同时明确招生招工具体方案及实施办法。
二、 组织报名
(一)确认高考报名信息
各市招生考试机构要做好本市辖区内报名点的指导协调工作。各有关普通中学、中职学校要做好高考考生资格审查、指导考生进行网上信息确认等工作。2018年12月完成高考报名并已获取普通高考报名号的应往届普通高中考生和中职考生可直接报考高职院校自主招生。未获取高考报名号的考生务必在补报名期间按要求办理高考补报名手续后方可报考高职院校自主招生。
1.未获取高考报名号的考生按2019年广东省普通高考考生补报名工作要求于2月下旬到就读学校(原高考报名点),非高考报名点的中职学校的应届生及其他往届生可到户籍所在的市(县、区)招生办领取考生号和初始登录密码,自行登录广东省高考报名系统,立即修改初始登录密码,填写报名信息,采集相片,确认无误后点击“信息确认”,并在规定时间内持身份证原件到领取考生号和初始密码的高考报名点或招生考试机构办理报名确认手续,采集指纹,签名确认报名信息。
2.拟报考现代学徒制但未获取高考报名号的普通高中毕业的企业在职员工,须符合《关于做好广东省2019年普通高校招生统一考试报名工作的通知》(粤招〔2018〕15号)中规定的普通高中学业水平考试成绩等级要求及其他报考条件要求,并在高考补报名期间办理高考补报名手续。为方便现代学徒制考生报名和考试,符合我省高考报名条件并拟报考高职院校现代学徒制试点招生的考生,允许其跨市借考。此类考生应由试点高职院校根据《广东省2019年普通高等学校招生考试正式报名信息表》内容,要求合作企业招考人员准备好相关材料,并在补报名期间集中到合作企业所在地级市招生办办理高考补报名手续。试点高职院校要主动与企业所在地级市招生办沟通协调,做好相关的准备工作。
(二)组织考生进行高职自主招生报名
2019年3月27日至31日为高职自主招生网上...
10-26
高考频道为大家提供北京:高中学业水平合格性考试成绩转入转出工作流程,一起来看看吧!更多高中学业水平考试信息请关注我们网站的更新!
北京:高中学业水平合格性考试成绩转入转出工作流程
根据有关规定,高中学业水平合格性考试成绩在省、自治区、直辖市之间予以承认,因此,考生在办理转学过程中应办理高中学业水平合格性考试成绩相关手续。
一、考生在本市内转学
考生无需办理高中学业水平合格性考试成绩相关手续,仍以原学考号报考即可。
二、外省市考生转入本市
外省市转入我市普通高中并已取得本市学籍的学生,应向本市接收学校提交原省省级教育考试机构开具的会考(学业水平考试)成绩证明原件,学校验明后扫描上传到北京市普通高中学业水平合格性考试管理系统。北京教育考试院对外省成绩进行最终认定。
三、开具北京市普通高中学业水平合格性考试成绩证明
因转学到外省市或出国留学等原因,需要向外省市、学信网等提供北京市普通高中学业水平合格性考试成绩证明时,须到学校所在区会考办开具,办理流程详询所在学校或各区会考办。
来源:北京教育考试院
小编精心为您推荐:
...10-26
高考报名频道为大家提供山东2019普通高考报名现场确认信息采集工作流程及要求,一起来了解一下吧!更多高考资讯请关注我们网站的更新!
山东2019普通高考报名现场确认信息采集工作流程及要求

二、现场信息采集基本要求
(一)考生姓名或其它信息中如有汉字库中不能找到的汉字,以拼音(半角大写字母)代替,县级招办现场确认时根据身份证确认信息进行登记备案。
(二)考生身份证需使用有效居民身份证,不能出具有效居民身份证的须出具公安部门的证明,并说明未能办理的原因。
(三)采集指纹以右手食指指纹为首选,如不能采集右手食指可依次选择左手食指、右手中指、右手拇指等其它手指,但须在县级招办进行登记说明。如不能采集指纹,也须在县级招办进行登记说明原因。
(四)考生照片必须进行现场采集,不使用身份证照片。照片要求长、宽比为4∶3,像素数240×180,头像部分占照片面积2/3以上,采用JPEG格式存储。
小编精心为您推荐:
09-12
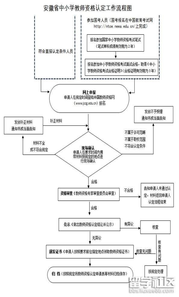
小编为考生们整理了“安徽中小学教师资格证认定工作流程”,希望有所帮助,更多考试信息请关注本网站的及时更新哦。

教师资格证考试栏目为您推荐:
2018年教师资格证报名>>>
2018年下半年教师资格证考试报名入口:中小学教师资格考试网
2017年教师资格证面试>>>
工作流程推荐访问